|
Since
the early 1900's there have been tension rods with different
head sizes and lengths. Early banjo makers used similar tension
rods and keys for tuning banjos.
Exactly which came first, a banjo key or a drum key would
require more research and not part of this article. I did look
through many of the online patents in Google patents for drums
and banjos to see if there was a drum key pictured and I found
nothing. I did however notice that a key was mentioned as the
way to turn the tension rods on a variety of patents.
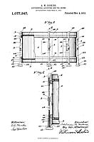
The
below patent from 1899 shows a tuning system that requires a
wrench to tighten the center nut that changes the tension on
both the top and bottom head equally.
1899
Drum Tuning Wrench

There
were other tuning systems that were attempted that were not
accepted by drummers. The Leedy Knob Tension Drums is one of
those systems which was a big marketing deal for Leedy as a
new way to tune drums without a drum key. It just did not work
and poor sales forced the new system out of the catalogs and
any future production.
Another
tuning method for drums which really dates back to the 1800's
and more recently popularized by Remo in the 70's is the spinning
of a drum to tune it. This method was used on early timpani.
There is no patent for the Roto Tom, but here is some history
on one of our other Drum Experts sites.
Another
product of the 70's was the Arbiter Autotune. This drum had
a special wrench to tune the heads. There were no tension rods
or lugs needed. The principle mentioned in the advertisement
is the heads would be screwed for tension like a jar with a
lid.
| Arbiter
Autotune Tuning System |
|
|
Here is
another system that looks very much like the Arbiter drums.
In
the 1980's Remo came up with the PTS - "Pre Tuned System"
of drum heads. The PTS system was a metal drum hoop with a pre-tensioned
drum head. To replace a drum head, the drummer had to just unclip
the hoop and put a new PTS head on. There was no tuning required!
Here
are some current tuning methods that do not require a drum key
to tune a drum. The Di Berardino Drums use a single cable that
tightens the entore head at one time.
The
DTS one touch system works with any drum with standard lugs.
The system puts pressure between the lugs and the hoop, so all
you do is tighten one screw and the entire head tension adjusts
evenly.
Now
that we have information about some of the unique tuning systems
available, yes there are more not mentioned, I want to move
on to the most common way of tuning a drum. And that is the
good old drum key!
As
I was doing research on the topic, I began to realize that there
are no patents that I can find for a drum key as we know it
today. Besides the Gladstone Key, Ludwig Sta-Set and new keys,
I could not find any photo evidence, just a mention of a drum
key or tuning key in patents. This will remain a mystery to
me and something that will eventually be discovered or emailed
to me from a reader of this article. So, who invented the first
drum key? I'm still under the belief that it was either taken
from another instrument and used on a drum where it gradually
worked its way into the drum community and drum manufacturing.
This
is the shape we recognize as a drum key. This design has changed
since the early 1900's but the general principle has stayed
the same. A wing nut style top section with a built in socket
on the other end.
| Standard
Drum Keys |
 |
 |
There
have been some improvements to the functionality of the standard
drum key. Here are two keys that take the standard drum key
to a new level. The Spin Drum Key and the Drill Bit Drum Key.
| Spin
Drum Key |
Drill
Bit Drum Key |
 |
 |
Both
of these keys make the removal of a drum head quicker. Most
of the advancement in early "Technology" were all
under the premise of a quicker and easier way to take off a
drum head and tune a drum without using a drum key.
I
would say in the last 10 years, more unique advancements in
the design and functionality of the drum key have come to the
market. There are keys with lights, magnetic drum keys, flip
drum keys, clip drum keys, high tension drum keys and torque
drum keys.
This
is the Evans Drum Key with LED Light. There are times when you
have to change a head in the dark or poor lighting conditions
on stage, in a pit or club setting. So the LED would come in
handy. The other key is a key that folds up straight and is
more compact. Each of these keys has a detachable chain and
hook so they are easy to take off a key ring or a belt loop,
I can't tell you how many times I used a standard key on a set
of house keys and they just spin and hit the drum or jingle
when tuning a drum in a hurry.
| Evans
Drum Key with LED Light |
Evans
Key that flips shut |
 |
 |
These
two keys handle special functions. The Evans Magnetic Drum Key
is a strong magnet, so when you are taking a lug off the drum,
you do not need to hold it or grab it to take it off the hoop.
Just lift the key and the tension rod and washer go with it.
The other key is the Evans Wing Nut Key. These are meant to
replace the wing nuts on your cymbal stands so you always have
a drum key handy as long as you have your cymbal stands!
| Evans
Magnetic Drum Key |
Evans
Cymbal Wing Nut Key |
 |
 |
Here
are two keys that make the drum key a handy device not to be
left in a pocket or clipped to a stick bag. The Tweek key clips
on to any 1" tube from a cymbal stand, hi hat or snare
stand and the Ahead Klip-It key clips to a drum lug and is designed
not touch the shell or allow any metal to rub or hit together.
| Tweek
Clip Drum Key |
Ahead
Klip-It Drum Key |
 |
 |
These
two keys have special gearing inside the key. The Firefly Key
lets you tighten the key without winding your wrist or having
to turn the key, then lift your hand and turn the key. It has
a built in ratchet, very similar to a ratchet for a socket set
that lets you tighten, then pull the ratchet back without any
tension or sound. The Robo Key has an advanced system that multiplies
the turning of the key with special internal gears.
| FireFly
Ratchet Drum Key |
Robo
Key Ratchet Drum Key |
 |
 |
These
two keys both work like a mechanics torque wrench. When a bolt
on a motor needs to be tightened to a specific torque you set
the wrench and then when it reaches the desired tension it clicks.
These two keys work on that exact principle and once you set
the key to the tension you like, you just turn it until it clicks
on each lug.
| Rhythm
Tech Torque Key |
Evans
Torque Key |
 |
 |
Tuning
for marching and pipe drums require an excessive amount of high
tension. These two keys provide the extra power to tighten them.
| Cannon
High Torque Ratchet |
GrooveTech
High Torque Wrench |
|
|
Even
though there have been some very unique tuning systems since
the time of early drumming the main tuning system has been the
drum key. The main reason is the ability to use different hoops,
the cost of making them and the history of the drum. The other
unique systems are dependent on the drum and also more expensive
to manufacture.
In
the end, learning how to tune a drum using a drum key takes
practice and patience, but once you get your system down, it
becomes second nature to many drummers.
Vintage
Drum Guide
|